Duplicent’s (duplicent.com) inventor, Curren Krasnoff, has developed numerous relevant and beneficial innovations designed to make the world a safer place. Let’s have a look at a few of them.
Stabilizer for Earthquakes
Duplicent’s Earthquake Stabilizer is meant to prevent a structure from swaying during a seismic event by sending heavy weights back and forth on a track at the opposite interval as the earthquake wave, thus counteracting the impact of swaying on the building. The weights’ track rotates to face the direction of the earthquake wave and then is calibrated to move the weights back and forth on the path at the proper counteracting interval.
The Earthquake Stabilizer is calibrated in real time to face the proper direction, sending each weight down the track at the correct pace to limit the swaying impact on the building, thanks to sensors, distant from the structure, that monitor the earthquake wave and direction.

Road Brake
The Road Brake, a flat rubber pad mounted beneath a vehicle, is activated in an emergency to quickly reduce the vehicle’s speed by lowering itself to the road, causing friction with the surface. The surface area of the pad, more than three times the surface area of the four tires put together, has greater stopping power than those four tires. Deployed in less than half a second when the brake pedal is completely extended, the road brake’s rubber bottom will slow the car while causing minimal harm to the road. Retracting after each usage, its low profile renders it invisible under the car during normal driving.


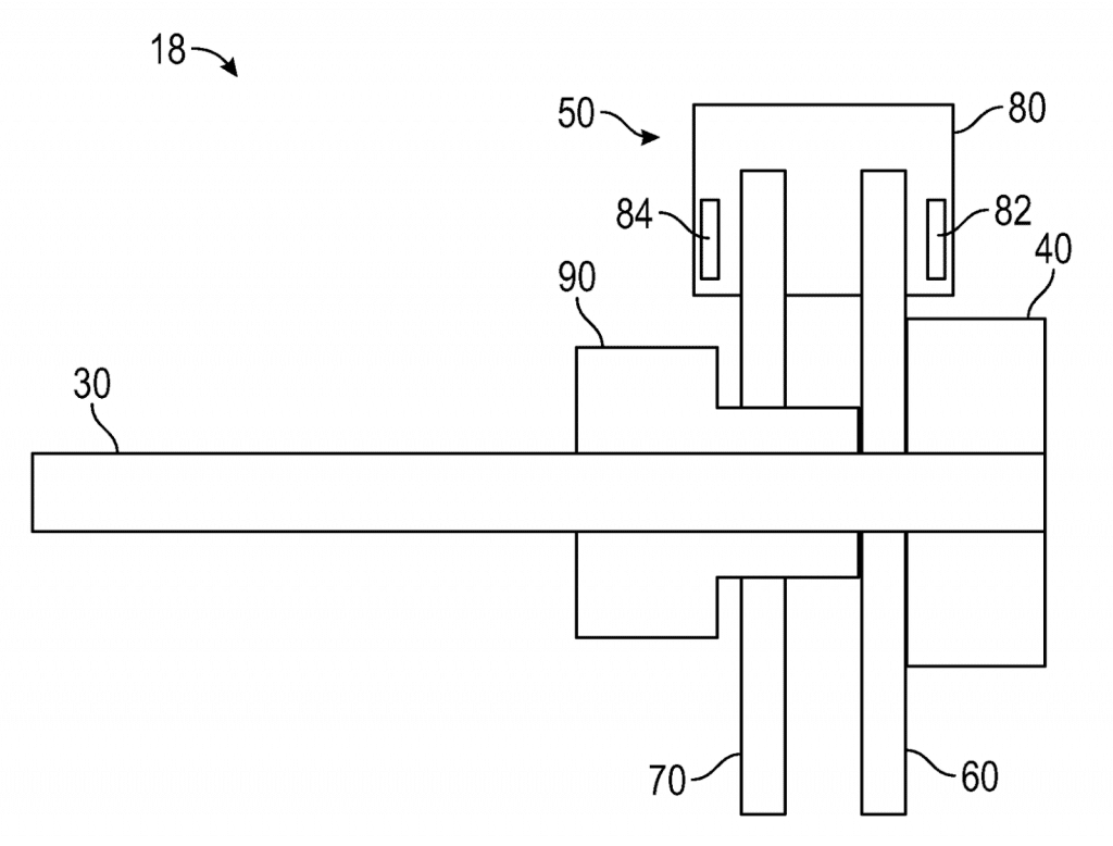
Rotor Brake
The Rotor Brake enhances braking force by enabling the two rotors to move outward and push back against the two brake pads as the pads are pressed on the rotors.

Duplicent is also working on other technologies in various development stages. Cloud computing architectures, energy technologies, computer memory technologies, phones, aircraft, and engines are among the other technologies for which Duplicent has filed patents.


































